| P型阻火器是用来阻止管道内易燃气体或易燃液体蒸气因意外引燃,火焰沿管道蔓延引起爆炸的安全装置。广泛应用于火炬系统、加热炉燃料气系统、石油气体回收系统或其它易燃气体系统等输送或排放易燃气体的管道上,能有效地保证整个系统装置及使用点的安全运行。            1、P—I型阻火器
 
                  
                    | 
                        
                          | 型号 | 公称直径DN | 结构尺寸mm | 备注 |  
                          | D | H |  
                          | P-I-15 | 15 | Ф108 | 330 | 设计压力1.0MPa设计温度:<80℃
 |  
                          | P-I-20 | 20 | Ф108 | 334 |  
                          | P-I-25 | 25 | Ф159 | 338 |  
                          | P-I-32 | 32 | Ф159 | 372 |  
                          | P-I-40 | 40 | Ф219 | 376 |  
                          | P-I-50 | 50 | Ф219 | 376 |  
                          | P-I-65 | 65 | Ф219 | 456 |  
                          | P-I-80 | 80 | Ф273 | 458 |  
                          | P-I-100 | 100 | Ф273 | 462 |  
                          | P-I-125 | 125 | Ф325 | 490 |  
                          | P-I-150 | 150 | Ф325 | 506 |  
                          | 材质 | 壳体 | 阻火网 |  
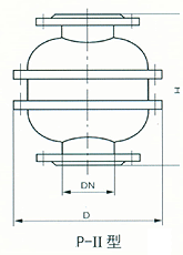
                          | 碳钢或不锈钢 | 不锈钢丝 |  |  |  2、P—II型阻火器
 
 
                  
                    | 
                        
                          | 型号 | 公称直径DN | 结构尺寸mm | 备注 |  
                          | D | H |  
                          | P-II-25 | 25 | 310 | 170 | 设计压力1.0MPa设计温度:<200℃
 |  
                          | P-II-40 | 40 | 310 | 170 |  
                          | P-II-50 | 50 | 310 | 170 |  
                          | P-II-80 | 90 | 320 | 230 |  
                          | P-II-100 | 100 | 360 | 305 |  
                          | P-II-150 | 150 | 390 | 355 |  
                          | P-II-200 | 200 | 460 | 450 |  
                          | P-II-250 | 250 | 490 | 500 |  
                          | 材质 | 壳体 | 阻火芯 |  
                          | 碳钢或不锈钢 | 不锈钢钢带 |  |  |  
 3、P—III型阻火器
 
 
                  
                    | 
                        
                          | 型号 | 公称直径DN
 | 结构尺寸mm | 备注 |  
                          | L | d | D |  
                          | P-III-50 | 50 | 204 | Ф159 | Ф280 | 设计压力1.0MPa设计温度:<100℃
 |  
                          | P-III-80 | 80 | 206 | Ф219 | Ф335 |  
                          | P-III-100 | 100 | 210 | Ф273 | Ф390 |  
                          | P-III-150 | 150 | 218 | Ф277 | Ф500 |  
                          | P-III-200 | 200 | 222 | Ф426 | Ф565 |  
                          | P-III-250 | 250 | 228 | Ф480 | Ф615 |  
                          | P-III-300 | 300 | 234 | Ф530 | Ф670 |  
                          | P-III-400 | 400 | 246 | Ф630 | Ф780 |  
                          | 材质 | 壳体 | 阻火网 |  
                          | 碳钢或不锈钢 | 不锈钢丝网 |  |  |  4、P—IV型阻火器
 
 
                  
                    | 
                        
                          | 型号 | 公称直径DN
 | 结构尺寸mm | 备注 |  
                          | D | H | h |  
                          | P-IV-200 | 200 | Ф400 | 770 | 500 | 设计压力1.0MPa设计温度:<80℃
 |  
                          | P-IV-225 | 225 | Ф400 | 770 | 500 |  
                          | P-IV-250 | 250 | Ф500 | 820 | 550 |  
                          | P-IV-300 | 300 | Ф500 | 820 | 550 |  
                          | P-IV-350 | 350 | Ф600 | 890 | 610 |  
                          | P-IV-400 | 400 | Ф600 | 890 | 610 |  
                          | P-IV-450 | 450 | Ф800 | 1015 | 730 |  
                          | P-IV-500 | 500 | Ф800 | 1175 | 800 |  
                          | 材质 | 壳体 | 阻火网 |  
                          | Q235-A | 钢丝网 |  |  |  
 5、P—V型阻火透气罩
 
 
                  
                    | 
                        
                          | 型号 | L | H |  
                          | P-V-40 | 180 | 125 |  
                          | P-V-50 | 180 | 155 |  
                          | P-V-80 | 210 | 160 |  
                          | P-V-100 | 250 | 160 |  
                          | P-V-150 | 290 | 172 |  |  |  
 6、P—VI(T)型氧气管道阻火器
 氧气管道阻火器和氧气管道阀门后阻火器采用特种铜合金和不锈钢、碳钢焊接而成。它在氧气管道中具有阻火特点,可有效地切断火源,杜绝管道中燃爆事故的发生,在管道输氧过程中,愈来愈显示它的必要性与阻燃的优越性。
 注:①1、3材质为0Crl8Ni9Ti、1Crl8Ni9Ti或20;②  2材质为T1、T2、TU1、TU2、B10。 
 
                  
                    | 公称压力2.94MPa |  
                    | 规格(mm) | 氧气管道阻火器型号 | 外形尺寸 | 氧气管道阀门后阻火器型号 | 外形尺寸 |  
                    | DN | P-VI | D | L | P-VI(T) | D | L |  
                    | 15 | P-VI-15 | 18 | 600 | P-VI(T)-15 | 18 | 1600 |  
                    | 20 | P-VI-20 | 25 | 600 | P-VI(T)-20 | 25 | 1600 |  
                    | 25 | P-VI-25 | 32 | 600 | P-VI(T)-25 | 32 | 1600 |  
                    | 32 | P-VI-32 | 38 | 600 | P-VI(T)-32 | 38 | 1600 |  
                    | 40 | P-VI-40 | 45 | 600 | P-VI(T)-40 | 45 | 1600 |  
                    | 50 | P-VI-50 | 57 | 600 | P-VI(T)-50 | 57 | 1600 |  
                    | 65 | P-VI-65 | 76 | 600 | P-VI(T)-65 | 76 | 1600 |  
                    | 80 | P-VI-80 | 89 | 600 | P-VI(T)-80 | 89 | 1600 |  
                    | 100 | P-VI-100 | 108 | 600 | P-VI(T)-100 | 108 | 1600 |  
                    | 125 | P-VI-125 | 133 | 600 | P-VI(T)-125 | 133 | 1600 |  
                    | 150 | P-VI-150 | 159 | 600 | P-VI(T)-150 | 159 | 1600 |  
                    | 200 | P-VI-200 | 219 | 600 | P-VI(T)-200 | 219 | 1700 |  
                    | 250 | P-VI-250 | 273 | 600 | P-VI(T)-250 | 273 | 1700 |  
                    | 300 | P-VI-300 | 325 | 600 | P-VI(T)-300 | 325 | 1700 |  
                    | 350 | P-VI-350 | 377 | 600 | P-VI(T)-350 | 377 | 1700 |  
                    | 400 | P-VI-400 | 426 | 600 | P-VI(T)-400 | 426 | 1700 |  |